
科技行业的快速发展不断改变着人们的生活方式高声誉网络配资平台,而作为行业巨头之一的苹果公司,每一次产品发布都备受瞩目。尤其是每年的秋季发布会,苹果几乎成为了科技圈的“风向标”,无论是新款iPhone的发布高声誉网络配资平台还是其他产品的亮相,都能引起广泛的讨论和热议。
而在刚刚过去的2023年秋季发布会上,苹果公司带来了重磅消息,不仅发布了备受期待的iPhone 15系列,还透露了一些关于未来产品的计划,其中包括一款具有纪念意义的新iPhone以及一款名为Vision Air的新产品。
一、新款iPhone 15系列发布
每年的秋季发布会,苹果公司都会带来新的iPhone系列产品,而今年也不例外。在发布会上,苹果正式推出了iPhone 15系列,包括iPhone 15、iPhone 15 Plus、iPhone 15 Pro和iPhone 15 Pro Max。

作为苹果公司的旗舰产品,iPhone 15系列在外观设计、摄像头性能、处理器性能等方面都进行了升级,其中iPhone 15 Pro和iPhone 15 Pro Max还首次采用了钛合金材质,整体质感更加出色。
此外,iPhone 15系列还支持USB-C接口,这也是苹果公司在产品设计上的一大突破,以前的iPhone产品一直采用的是Lightning接口,而此次更换为USB-C接口,也意味着用户可以使用同一数据线为更多设备充电,极大地方便了用户的使用体验。
二、纪念性新iPhone即将推出
除了iPhone 15系列的发布,苹果公司还透露了一些关于未来产品的计划,其中包括一款具有纪念意义的新iPhone。

据了解,这款新iPhone将会在2027年发布,而发布的时间恰好是iPhone问世20周年,可以说是非常具有纪念意义的一款产品。
而在这款新iPhone的设计上,苹果公司可能会采用一种全新的显示技术——CoE(封装上彩色滤光片),这种技术可以大幅提升屏幕的亮度,同时还能够有效减少屏幕的厚度,可以说是非常具有前瞻性的一项技术。
除此之外,苹果公司还计划在这款新iPhone中加入一些其他的创新设计,比如说可能会采用环绕式显示屏,这也是苹果公司近几日获得的一项专利技术,可以说是非常具有吸引力的一项设计。
三、Vision Air:轻巧便携的新产品
除了新款iPhone之外,苹果公司还透露了一款名为Vision Air的新产品,而这款产品可以说是Vision Pro的后续版本。

据了解,Vision Air是一款轻巧便携的设备,主要定位于普通消费者,相比于Vision Pro,Vision Air的价格更加亲民,可以说是非常适合大众用户的一款产品。
而在功能上,Vision Air也非常强大,它不仅可以支持虚拟现实和增强现实,还可以与其他苹果设备进行无缝连接,为用户带来更加丰富的使用体验。
可以说,苹果公司一直以来都非常注重用户体验,而Vision Air的推出,也可以看作是苹果公司在虚拟现实和增强现实领域的一次重要布局,未来有望为用户带来更多的惊喜和便利。
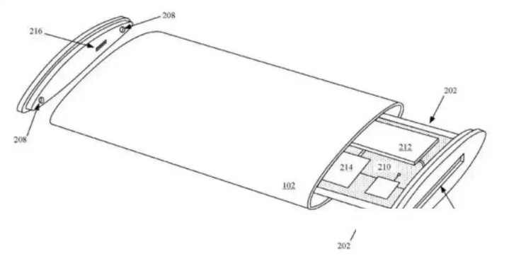
四、环绕式显示屏的前景
除了新iPhone和Vision Air之外,苹果公司还获得了一项关于环绕式显示屏的专利技术,而这项技术可以说是非常具有前瞻性的一项设计。

据了解,环绕式显示屏可以将屏幕的显示区域大幅度扩展,为用户带来更加沉浸式的视觉体验,可以说是非常适合用于游戏、影视等娱乐领域。
而在手机产品中,如果能够采用环绕式显示屏设计,可以说是非常具有吸引力的一项创新,可以为用户带来全新的使用体验,也有望引领手机产品设计的一次重要潮流。
可以预见的是,未来的手机产品设计,可能会越来越注重屏幕的表现力和视觉效果,而环绕式显示屏的出现,也为手机产品设计提供了更多的可能性和创意空间。
五、乔布斯的理想手机
提到苹果公司的产品设计,就不得不提乔布斯,他曾经是苹果公司的灵魂人物,也是苹果公司产品设计的最大推动者。
乔布斯曾经设想过一款“充满魔力的玻璃”手机,可以说是非常具有前瞻性的一项设计,而苹果公司近几日获得的环绕式显示屏专利,似乎也与乔布斯的设想不谋而合。

可以说,苹果公司一直以来都非常注重产品的设计和用户体验,而乔布斯的理想手机设计,也一直以来都在影响着苹果公司的产品设计理念。
或许在不久的将来,苹果公司会推出一款符合乔布斯理想的“充满魔力的玻璃”手机,而这款手机的出现,也一定会引起广泛的关注和热议。
六、苹果的可持续发展理念
除了产品设计之外,苹果公司在产品研发和生产过程中,也一直以来都非常注重可持续发展。
苹果公司已经承诺到2030年实现全面碳中和,也就是说苹果公司所有的产品和供应链都将实现零碳排放,可以说是非常具有远见卓识的一项承诺。
而在显示技术的研发中,苹果公司也会更加注重环保和可持续性,比如说在材料选择上,会尽量选择可回收材料,减少对环境的影响。

可以说,苹果公司的可持续发展理念已经深入到产品的每一个细节中,也为其他科技公司树立了一个良好的榜样。
七、iOS系统的升级策略
除了产品设计之外,苹果公司在软件方面的表现也一直以来备受瞩目,尤其是iOS系统的升级策略。
苹果公司一直以来都非常注重用户体验,而iOS系统的每一次升级,都离不开对用户反馈的认真倾听和积极改进。
而近几日一段时间,苹果公司已经停止了对iOS 18.6.2版本的签名验证,这也意味着一旦用户升级到iOS 26版本,就无法再降级到之前的版本。
可以说,苹果公司的升级策略已经引起了一些用户的担忧,他们担心苹果公司会通过强制升级的方式,来影响用户的使用体验和设备的性能。

苹果公司需要在创新和用户体验之间找到一个平衡点,既要给用户带来全新的功能和体验,也要尊重用户的选择和使用习惯。
苹果公司一直以来都在不断地推陈出新,给用户带来惊喜和便利,而在未来的产品发布中,我们也期待苹果公司能够继续保持创新的脚步,为科技行业带来更多的惊喜和改变。
无论是新款iPhone的发布,还是其他产品的推出,都离不开苹果公司对用户体验的深刻理解和对科技前沿的敏锐洞察。
汇融优配提示:文章来自网络,不代表本站观点。